深圳市创新恒安门业有限公司主要销售电动伸缩门,交通安全设施,停车场系统,护栏网等产品,质量有保证,欢迎广大新老客户来电洽谈!咨询电话:0755-36605123
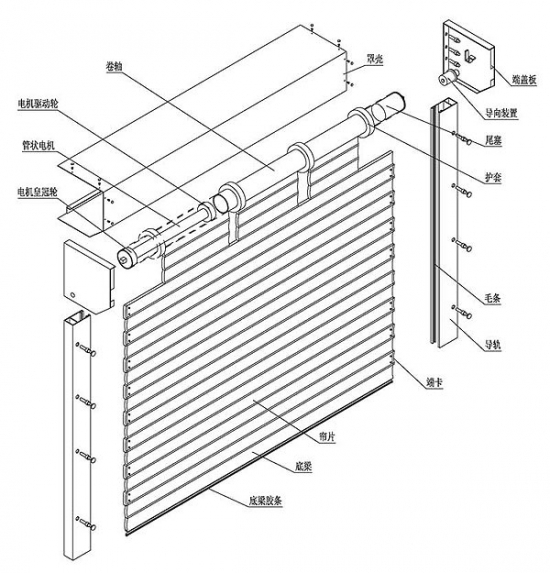
深圳市创新恒安快速卷帘门的安装示意图:




深圳市创新恒安快速密封门的简单介绍:
由PVC软门帘制成的卷帘门通常称为疾速卷帘门或快卷门,具有保温、防虫、防风、防尘、隔音、防异味、采光等多项功用。被广泛应用于食物、化学、纺织、电子、打印、仓储、精密机械等多种室内场合。满意了高功用物流及洁净场所的需求,并且节省能源,进步空调作用。高速主动启闭,大大进步了作业作用。但快卷门不能作为室外用门,门体巨细也受到限制,不具有防盗功用。因而运用规模有所限制。
门布原料:通常以PVC或PVDF膜材作为帘布,特别是PVDF膜材抗老化功用更好,不易退色并且有自洁功用,做疾速卷门十分合适。
装备:
①双面雷达:当雷达侦测到有挪动物体时,门就会主动疾速敞开,至设定的延时降低时间后主动封闭。
②遥控器:遥控器的接纳端与主操控箱内的PLC相连,发射器上有开门、关门、中止、确定四个按键,间隔门体10米规模内,按下开门键门就会疾速敞开。至设定的延时降低时间后主动封闭,或许按下关门按键,门会当即开端封闭。当门在敞开或封闭过程中,按下中止按键时,门会停留在任一方位。如想让门暂时中止一段时间且不受其他任何信号操控,可按下确定按键,要解锁时按下中止按键即可。
③拉绳开关:人可在叉车上轻轻拉一下拉绳,,门就会疾速敞开,至设定的延时降低时间后主动封闭。或许经过该门后拉一下对面的拉绳,门当即开端封闭。
④地磁感应:当有金属物体如车辆等过来,被地磁环的磁场感应届时,门就会疾速敞开,至设定的延时降低时间或主动封闭。
⑤安全气囊:疾速卷门的底端装有一压力气感边,当卷门在高速降低过程中,压到卷门下方的物体时(受力约5-10公斤,对人体或货品不会有损伤)卷门会反向上升到上限方位。
⑥光幕:适用于那些对感应规模有特定需求的当地。人或车辆一旦进入感应区门当即疾速敞开,至设定的延时降低时间后主动封闭。
⑦互锁设备:同一运用空间内有两档以上(含两档)卷门时,可以用一根导线将这些卷门的操控系统互锁。当有一档门敞开或处于敞开状况时,被互锁的门不能敞开。





